prekidac svetala ford mondeo 2
Moderator: Dragomir
-
igorns
- Poruka: 19
- Član foruma od: četvrtak, 18. mar. 2021. u 09:54h
prekidac svetala ford mondeo 2
Pozdrav svima.Dali neko mozda ima semu prekidaca svetala za ford mondeo2 1998 godiste.Unapred hvala
-
igorns
- Poruka: 19
- Član foruma od: četvrtak, 18. mar. 2021. u 09:54h
Re: prekidac svetala ford mondeo 2
Mozda se nisam izravio dobro treba mi raspored zica na konektoru prekidaca svetala od ford mondea2 1998 god.Ili dar bar neko zna gde to mogu pronaci.Na prekidacu su i prednje i zadnje maglenke.Unapred hvala
- Markedjani
- Predsednik kluba

- Poruka: 21870
- Član foruma od: petak, 10. okt. 2008. u 11:14h
- Lokacija: Bg-Cerak
Re: prekidac svetala ford mondeo 2



Venetia Red, '81 Ford Taunus 1.3
Diamond White, '91 Ford Sierra 2.0 DOHC 4x4
Panther Black, '07 Ford Fiesta 1.6 S
Moondust Silver, '04 Ford Fiesta 1.4 TDCI
Vozim besan auto od 1000 maraka!
-
igorns
- Poruka: 19
- Član foruma od: četvrtak, 18. mar. 2021. u 09:54h
- mbole
- Poruka: 15272
- Član foruma od: ponedeljak, 6. jun 2011. u 23:09h
- Lokacija: Bataja
Re: prekidac svetala ford mondeo 2
Najpre... 1998 je prelomna godina. Do avgusta i posle avgusta se razlikuju instalacije.
Drugo.. postoji par varijanti instalacije i u okviru iste generacije.
Nema seme posebno samo prekidaca, vec je on u okviru razlicitih delova instalacije na vise mesta.
Npr imas instalaciju oborenih svetala, i u njo je prikazan deo prekidaca koji je vezan za njih.
Drugo.. konektor nije okrugao
Konektor je pravougaoni, samo je deo ispod njega okrugao.
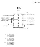
Ovo je raspored pinova na konektoru:

U prilogu je kompletna sema instalacije svetala za drugu polovinu 98 (ima i deo toga sto je pre avgusta).
https://mega.nz/file/SR1iDawa#1K4uYFf34 ... pls4HtSHPU
Drugo.. postoji par varijanti instalacije i u okviru iste generacije.
Nema seme posebno samo prekidaca, vec je on u okviru razlicitih delova instalacije na vise mesta.
Npr imas instalaciju oborenih svetala, i u njo je prikazan deo prekidaca koji je vezan za njih.
Drugo.. konektor nije okrugao
Konektor je pravougaoni, samo je deo ispod njega okrugao.
Ovo je raspored pinova na konektoru:

U prilogu je kompletna sema instalacije svetala za drugu polovinu 98 (ima i deo toga sto je pre avgusta).
https://mega.nz/file/SR1iDawa#1K4uYFf34 ... pls4HtSHPU
Fućko 
Djak pesak
Mondeo, Mk2, naftarica
Orion, Mk2, naftarica
Djak pesak
Mondeo, Mk2, naftarica
Orion, Mk2, naftarica
-
igorns
- Poruka: 19
- Član foruma od: četvrtak, 18. mar. 2021. u 09:54h
Re: prekidac svetala ford mondeo 2
Hvala mbole puno Ispravka mondeo je 1997 godiste.Jel ovo sema tog prekidaca?
- mbole
- Poruka: 15272
- Član foruma od: ponedeljak, 6. jun 2011. u 23:09h
- Lokacija: Bataja
Re: prekidac svetala ford mondeo 2
Nije.
Ovo je konektor

A ovo su seme za 1997
https://mega.nz/file/uQtzTRhY#GEArXyMqU ... PdTIJjiq2A
Povedi racuna da i tu ima razlika, pre septembra i posle septembra.
Ovo je konektor

A ovo su seme za 1997
https://mega.nz/file/uQtzTRhY#GEArXyMqU ... PdTIJjiq2A
Povedi racuna da i tu ima razlika, pre septembra i posle septembra.
Fućko 
Djak pesak
Mondeo, Mk2, naftarica
Orion, Mk2, naftarica
Djak pesak
Mondeo, Mk2, naftarica
Orion, Mk2, naftarica
-
igorns
- Poruka: 19
- Član foruma od: četvrtak, 18. mar. 2021. u 09:54h
Re: prekidac svetala ford mondeo 2
Uff Muke moje, kazi mi gde mogu videti koji broj na prekidacu znaci sta znaci sta je pozicija, sta je kratko svetlo, sta su maglenke..Izvinte ako puno trazim i puno puno vam hvala
- sarabo
-

- Poruka: 2258
- Član foruma od: utorak, 6. jun 2017. u 13:16h
- Lokacija: Bataja
Re: prekidac svetala ford mondeo 2
mislim da unosiš zabunu sa pojmovima
kažeš prekidač, a misliš na konektor
prekidač okrećeš i biraš šta ti treba i lako ćeš videti gde se koje svetlo pali
za maglenke okreneš prekidaš skroz u desno i izvlačiš ga - prvo koleno su prednje maglenke, drugo koleno su zadnje - ako nisam nešto omašio
kažeš prekidač, a misliš na konektor
prekidač okrećeš i biraš šta ti treba i lako ćeš videti gde se koje svetlo pali
za maglenke okreneš prekidaš skroz u desno i izvlačiš ga - prvo koleno su prednje maglenke, drugo koleno su zadnje - ako nisam nešto omašio
Fiesta 1.8 d ( 1997 )
Focus MK1 1.8 tdci 74 KW ( 2002 )
Focus MK2 1.6 tdci 80 KW ( 2005 )
C max MK1 FL 1.6 tdci 66 KW ( 2008 )
Focus MK4 1,5 tdci 88 KW ( 2022 )
Focus MK1 1.8 tdci 74 KW ( 2002 )
Focus MK2 1.6 tdci 80 KW ( 2005 )
C max MK1 FL 1.6 tdci 66 KW ( 2008 )
Focus MK4 1,5 tdci 88 KW ( 2022 )
- mbole
- Poruka: 15272
- Član foruma od: ponedeljak, 6. jun 2011. u 23:09h
- Lokacija: Bataja
Re: prekidac svetala ford mondeo 2
Otvoris semu, i gledas gde ide koja zica.
Imas u semi oznake pinova, opis sta je koji, imas oznake pinova na konektoru.
Samo sto je sve odvojeno u semi.
Posebno je sema za duga, posebno za kratka, posebno za pozicije... tako da moras sve da prodjes.
I imas cesto po dve seme za isti deo instalacije, jednu pre septembra i drugu od septembra na dalje.
Imas u semi oznake pinova, opis sta je koji, imas oznake pinova na konektoru.
Samo sto je sve odvojeno u semi.
Posebno je sema za duga, posebno za kratka, posebno za pozicije... tako da moras sve da prodjes.
I imas cesto po dve seme za isti deo instalacije, jednu pre septembra i drugu od septembra na dalje.
Fućko 
Djak pesak
Mondeo, Mk2, naftarica
Orion, Mk2, naftarica
Djak pesak
Mondeo, Mk2, naftarica
Orion, Mk2, naftarica
-
igorns
- Poruka: 19
- Član foruma od: četvrtak, 18. mar. 2021. u 09:54h
Re: prekidac svetala ford mondeo 2
dali prekidac od 98 odgovara u mondeo 97?Taj sam porucio.
- mbole
- Poruka: 15272
- Član foruma od: ponedeljak, 6. jun 2011. u 23:09h
- Lokacija: Bataja
Re: prekidac svetala ford mondeo 2
Po onome sto uspevam da nadjem, trebalo bi da je isti, jos od Mk1.
Razlikuju se samo varijante sa i bez maglenki, i za englesko trziste
Razlikuju se samo varijante sa i bez maglenki, i za englesko trziste
Fućko 
Djak pesak
Mondeo, Mk2, naftarica
Orion, Mk2, naftarica
Djak pesak
Mondeo, Mk2, naftarica
Orion, Mk2, naftarica







